Bu lông bích đầu lục giác JIS B1189
Sản phẩm: Bu lông bích đầu lục giác JIS B1189
Loại tài sản: 4.6, 4.8, 5.6, 5.8, 8.8, 10.9, 12.9,
A-70, A4-70, A4-80
Hoàn thiện: Mạ kẽm (Kẽm vàng, Kẽm xanh, Màu rửa), Đen, Phốt phát & Dầu, Kẽm phốt phát, Mạ kẽm nhúng nóng (HDG), Dacromet, Geomet
Chất liệu: Thép
Nước xuất khẩu: Hoa Kỳ, Nhật Bản, Úc, Châu Âu, v.v.
Hỗ trợ tùy chỉnh khách hàng
Trong thế giới kỹ thuật cơ khí và xây dựng, tầm quan trọng của các ốc vít đáng tin cậy không thể được cường điệu hóa.Bu lông bích đầu lục giác JIS B1189được thiết kế để đáp ứng Tiêu chuẩn công nghiệp Nhật Bản nghiêm ngặt, mang lại độ bền, độ chắc chắn và dễ lắp đặt vượt trội. Cho dù bạn đang làm việc trên lắp ráp ô tô, máy móc hay khung kết cấu, những bu lông này đảm bảo việc cố định an toàn và hiệu quả.
Bài viết này đề cập đến mọi thứ bạn cần biết vềBu lông bích đầu lục giác JIS B1189bao gồm thông số kỹ thuật, ứng dụng, ưu điểm và mẹo lựa chọn.
Bu lông bích đầu lục giác JIS B1189 là gì?
cácBu lông bích đầu lục giác JIS B1189tuân thủ Tiêu chuẩn công nghiệp Nhật Bản B1189, quy định kích thước, tính chất cơ học và yêu cầu chất lượng đối với bu lông bích đầu lục giác. Các bu lông này có đầu lục giác với bích tích hợp hoạt động như một vòng đệm, phân phối tải và giảm nhu cầu về vòng đệm riêng trong quá trình lắp ráp.
Thiết kế mặt bích cung cấp bề mặt ổ trục được cải thiện và giúp ngăn ngừa sự nới lỏng do rung động, làm choBu lông bích đầu lục giác JIS B1189sự lựa chọn ưu tiên trong nhiều ngành công nghiệp khác nhau.
Các tính năng chính của bu lông bích đầu lục giác JIS B1189
1.Kích thước và chất lượng chuẩn hóa
Được sản xuất theoTiêu chuẩn JIS B1189tiêu chuẩn, các bu lông bích đầu lục giác này có kích thước và ren đồng nhất. Tiêu chuẩn này đảm bảo khả năng hoán đổi và độ tin cậy trong các dự án kỹ thuật.
2.Mặt bích tích hợp để phân phối tải
Mặt bích tích hợp trên đầu bu lông phân bổ đều lực kẹp, bảo vệ vật liệu được kết nối khỏi bị hư hỏng. Điều này loại bỏ nhu cầu sử dụng vòng đệm riêng, giúp đơn giản hóa việc lắp đặt.
3.Độ bền cao và khả năng chống ăn mòn
Được làm từ thép hợp kim cao cấp hoặc thép không gỉ,Bu lông bích đầu lục giác JIS B1189cung cấp độ bền kéo và khả năng chống ăn mòn tuyệt vời. Điều này làm cho chúng phù hợp với môi trường khắc nghiệt và các ứng dụng quan trọng.
4.Chống rung
Thiết kế mặt bích tăng cường khả năng chống nới lỏng do rung động và tải trọng động, đảm bảo kết nối an toàn theo thời gian.
Ứng dụng của bu lông bích đầu lục giác JIS B1189
Tính linh hoạt củaBu lông bích đầu lục giác JIS B1189làm cho chúng được sử dụng rộng rãi trong:
Sản xuất và lắp ráp ô tô
Máy móc và thiết bị buộc chặt
Kết cấu thép
Vỏ điện tử
Dự án công nghiệp nặng
Độ tin cậy của chúng dưới ứng suất cơ học và rung động khiến chúng trở nên không thể thiếu trong các lĩnh vực này.
Cách chọn bu lông bích đầu lục giác JIS B1189 phù hợp
Khi lựa chọnBu lông bích đầu lục giác JIS B1189, hãy xem xét những điều sau:
Lớp vật liệu:Chọn thép không gỉ để chống ăn mòn hoặc thép hợp kim để có độ bền cao.
Kích thước và bước ren:Chọn kích thước bu lông và ren phù hợp với yêu cầu ứng dụng của bạn theo thông số kỹ thuật JIS B1189.
Lớp phủ:Lớp mạ kẽm hoặc mạ kẽm có tác dụng cải thiện khả năng chống ăn mòn.
Yêu cầu tải:Đảm bảo độ bền kéo của bu lông đáp ứng được nhu cầu của dự án.
Phần kết luận
cácBu lông bích đầu lục giác JIS B1189cung cấp giải pháp buộc chặt tiêu chuẩn, đáng tin cậy cho các ngành công nghiệp đòi hỏi sức mạnh, độ bền và hiệu quả. Thiết kế mặt bích tích hợp của chúng giúp đơn giản hóa việc lắp đặt và cải thiện khả năng phân bổ tải trọng, khiến chúng trở thành lựa chọn lý tưởng cho các ứng dụng ô tô, công nghiệp và kết cấu.
Lựa chọn quyềnBu lông bích đầu lục giác JIS B1189đảm bảo kết nối lâu dài và an toàn, đáp ứng các tiêu chuẩn công nghiệp nghiêm ngặt của Nhật Bản.



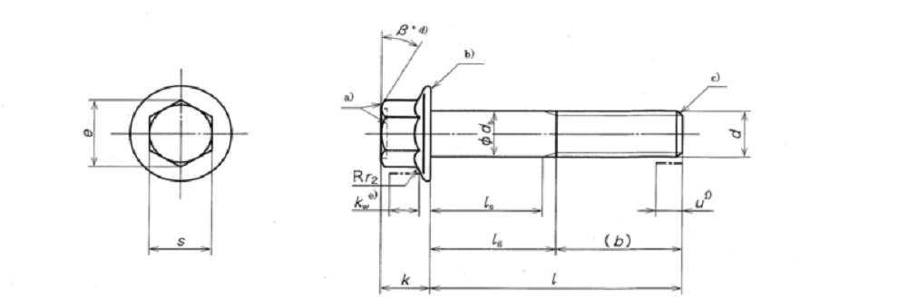
Bản vẽ sản phẩm
Đặc điểm kỹ thuật sản phẩm
Kích cỡ |
M5 |
Ms. |
M8 |
M10 |
M12 |
M14 |
M16 |
|
P |
0.8 |
1.0 |
1.25 |
1.5 |
1.75 |
2.0 |
2.0 |
|
b |
c |
16 |
18 |
22 |
26 |
30 |
34 |
38 |
d |
/ |
/ |
28 |
32 |
36 |
40 |
44 |
|
e |
/ |
/ |
/ |
/ |
/ |
/ |
57 |
|
một phút |
1.0 |
1.1 |
1.2 |
1.5 |
1.8 |
2.1 |
2.4 |
|
vâng, tối đa |
loại F |
5.7 |
6.8 |
9.2 |
11.2 |
13.7 |
15.7 |
17.7 |
loại U |
6.2 |
7.5 |
10.0 |
12.5 |
15.2 |
17.7 |
20.5 |
|
dc tối đa |
11.4 |
13.6 |
17.0 |
20.8 |
24.7 |
28.6 |
32.8 |
|
ds |
tối đa |
5.0 |
6.0 |
8.0 |
10.0 |
12.0 |
14.0 |
16.0 |
phút |
4.82 |
5.82 |
7.78 |
9.78 |
11.73 |
13.73 |
15.73 |
|
dv tối đa |
5.5 |
6.6 |
8.8 |
10.8 |
12.8 |
14.8 |
17.2 |
|
phút giây |
9.4 |
11.6 |
14.9 |
18.7 |
22.5 |
26.4 |
30.6 |
|
và phút |
7.59 |
8.71 |
10.95 |
14.26 |
16.5 |
19.86 |
23.15 |
|
k tối đa |
5.6 |
6.9 |
8.5 |
9.7 |
12.1 |
12.9 |
15.2 |
|
kW tối thiểu |
2.3 |
2.9 |
3.8 |
4.3 |
5.4 |
5.6 |
6.8 |
|
lf tối đa |
1.4 |
1.6 |
2.1 |
2.1 |
2.1 |
2.1 |
3.2 |
|
r1 phút |
0.2 |
0.25 |
0.4 |
0.4 |
0.6 |
0.6 |
0.6 |
|
r2 tối đa |
0.3 |
0.4 |
0.5 |
0.6 |
0.7 |
0.9 |
1.0 |
|
rz |
tối đa |
0.25 |
0.26 |
0.36 |
0.45 |
0.54 |
0.63 |
0.72 |
phút |
0.1 |
0.11 |
0.16 |
0.20 |
0.24 |
0.28 |
0.32 |
|
rc |
4.0 |
4.4 |
5.7 |
5.7 |
5.7 |
5.7 |
8.8 |
|
S |
tối đa |
7.0 |
8.0 |
10.0 |
13.0 |
15.0 |
18.0 |
21.0 |
phút |
6.78 |
7.78 |
9.78 |
12.73 |
14.73 |
17.73 |
20.67 |
|
v |
tối đa |
0.15 |
0.2 |
0.25 |
0.3 |
0.35 |
0.45 |
0.5 |
phút |
0.05 |
0.05 |
0.1 |
0.15 |
0.15 |
0.2 |
0.25 |
|
Hỗ trợ tùy chỉnh khách hàng |
||||||||




